Logo Design by FlamingText.com
Logo Design by FlamingText.com

Jumat, 19 Juli 2013

KONSEP DASAR HARDWARE KOMPUTER

1. Arsitektur Komputer

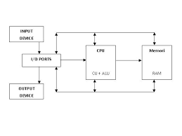
   Tidak ada suatu ketentuan khusus tentang bagaimana seharusnya struktur sistem sebuah komputer. Setiap ahli dan desainer arsitektur komputer memiliki pandangannya masing-masing. Akan tetapi , untuk mempermudah kita memahami komponen dan fungsi  masing-masing komponen hardware komputer, kita perlu memiliki pengetahuan umum tentang struktur sistem komputer.
                                                      
keterangan :

GPU       : Grapichs Processing Unit
AGP       : Accelared Grapichs Port
HDD      : Hard Disk Drive
FDD       : Floppy Disk Drive
FSB        : Front Side Bus
USB        : Universal Serial Bus
PCI         : Pheripheral Component Interconnect
RTC        : Real Time Clock
PATA      : Pararrel Advanced Thecnology Attachment
SATA      : Serial Advanced Thecnology Attachment
ISA          : Industry Standard Architecture
IDE          : Intelligent Drive Electronics
MCA       : Micro Channel Architecture
PA/2        : Port yang dibangun IBM untuk menghubungkan mouse dan keyboard ke PC
                                          

Tidak ada komentar:

Posting Komentar